Oferta
Klucze teleskopowe do zasuwy i nawiertki
SYMBOL PRODUKTU
KLT
Przeznaczenie
Ręczne otwieranie i zamykanie zasuw, nawiertek i opasko-zaworów znajdujących się pod ziemią.
Specyfikacja
- Wykonanie i odbiór: wg PN-EN 1074-1:2002
- Dostarczanie w stanie zmontowanym
- Zabezpieczenie antykorozyjne: lakier bitumiczny
Tabela rozmiarów
| Rodzaj klucza | Obudowa teleskopowa | Wymiar nasady [mm] | |
| Symbol klucza | Długość zabudowy L [m] | ||
| Klucz do nawiertki | KLT-AN | 0,98-1,65 | 13 |
| Klucz do zasuwy | KLT-AZ-12-1 | 0,90-1,45 | 12 |
| KLT-AZ-14-1 | 14 | ||
| KLT-AZ-17-1 | 17 | ||
| KLT-AZ-19-1 | 19 | ||
| KLT-AZ-22-1 | 22 | ||
| KLT-AZ-24-1 | 24 | ||
| KLT-AZ-12-2 | 0,98-1,65 | 12 | |
| KLT-AZ-14-2 | 14 | ||
| KLT-AZ-17-2 | 17 | ||
| KLT-AZ-19-2 | 19 | ||
| KLT-AZ-22-2 | 22 | ||
| KLT-AZ-24-2 | 24 | ||
Inne długości na zamówienie
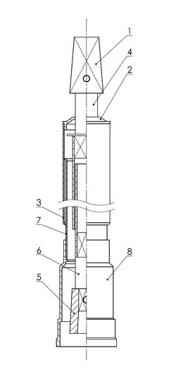
Wykaz
- Nasada górna

- Korek
- Obudowa
- Pręt stalowy
- Nasada dolna
- Pręt stalowy łączący
- Obudowa wewnętrzna teleskopu
- Obudowa nasady
Pliki do pobrania
Zapytaj o wycenę produktu