Oferta
Aparat do nawiercania wodociągów pod ciśnieniem - Zestaw Duży
SYMBOL PRODUKTU
NAP-200
Przeznaczenie
Służy do nawiercania wodociągów PE, PCV, ŻL, AC, stalowych również pod ciśnieniem do 1.6 MPa. Standardowy zestaw pozwala na nawiercanie wodociągów pod ciśnieniem przez NWZ zasuwa z opaską na rury PE, PVC, ŻL, AC, DN 32-1 ¼", DN 40-1 ½" i DN 50 2". Dodatkowo wyposażenie dużego zestawu aparatu pozwala na nawiercanie przy użyciu opaski z kołnierzem gdzie dołączona jest zasuwa kołnierzowa: DN 50, DN 80, DN 100.
Specyfikacja
- Ciśnienie pracy PN 1.0 MPa, 1,6 MPa, Temperatura pracy tmax 40°C,
- Atest higieniczny do kontaktu z wodą pitną,
- Zabezpieczenie antykorozyjne - farba proszkowa z atestem higienicznym: poliestrowo-epoksydowa, RAL 5005,
- Elementy uszczelniające z atestem higienicznym: guma NBR 70 M066, guma EPDM.
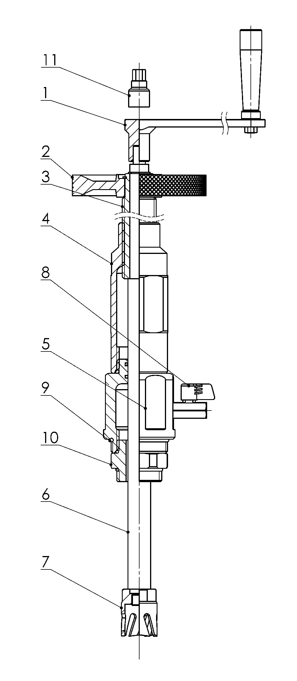
Elementy składowe aparatu

- Korba
- Koło posuwu EN-GJL-250
- Tuleja posuwu MO58
- Korpus duży 1
- Korpus mały 2
- Wrzeciono - trzpień aparatu - w skład wchodzi:
6.11. Nakrętka
6.12. Wkręt M8 x 6
6.13. Zabierak
6.14. Wiertło pilot HSS Ø 6.3
6.15. Wiertło pilot HSSCo Ø 6.3 - Narzędzia nawiercające:
- wiertła bimetaliczne koronowe HSS do rur twardych
- frezy do rur miękkich
- Zawór kulowy ½" - do zalewania aparatu wodą przed nawiercaniem (woda spełnia rolę chłodzącą i smarującą), służy również do spuszczania wody po nawiercaniu
- Komplet oringów NKJ
- Króciec redukcyjny z oringami:
- G 1 ½" / 1 ½" do zasuwy DN 40
- G 1 ½" / 1 ¼" do zasuwy DN 32
- Adapter, nasadka ½" / 8mm do napędu wkrętarką
- Kołnierz DN 50/2"
- Kołnierz DN 80/2"
- Kołnierz DN 100/2"
- Klucz imbusowy 4
- Szczypce do segerów
- Duża skrzynka
Wykaz

- korba S275 do nadawania płynnego ruchu obrotowego wrzeciona
- koło posuwu EN-GJL 250, PN-EN 1561:2012 nadaje za pośrednictwem tulei posuwu posuw wiertła
- tuleja posuwu MO 58, CW614N, PN-EN 12164:2016
- korpus cz.1 GGG 50, EN-GJS-500, PN-EN 1563:2012
- korpus cz.2 GGG 50, EN-GJS-500, PN-EN 1563:2012 gwint zewn. R2”, gwint wewn. R 1 ½
- trzpień - wrzeciono 2H13, X20Cr13
- narzędzia nawiercające: wiertła bimetaliczne koronowe HSS - do rur twardych i frezy do rur miękkich
- zawór kulowy do napełniania aparatu i spuszczania wody po nawierceniu
- komplet oringów NBR 70, atest HK/W/0380/01/2016
- króciec redukcyjny GGG:
- R 1½" – R 1½”
- R 1½” – R 1¼”
- adapter, nasadka ½" / 8 mm
Wiertła w zestawie
- wiertła bimetaliczne koronowe HSS w rozmiarach: Ø22; Ø27; Ø35; Ø41; Ø73; Ø89
- frezy do rur miękkich w rozmiarach: Ø22,5; Ø28; Ø35; Ø40; Ø73; Ø89
Wrzeciona w zestawie
- Wrzeciono L-525 mm z zabierakiem do nawiercania NWZ - zasuwa gwintowana z opaską DN32, DN40, DN50 - L1 - Długość zabudowy 160-250.
- Wrzeciono L-650 mm z zabierakiem do nawiercania przez zasuwę kołnierzową DN50 i zasuwę DN80, DN 100 Figura 111 - L2 - Długość zabudowy 260-350.
- Wrzeciono L-760 z zabierakiem do nawiercania przez zasuwy DN80, DN100 Figura 002 - L3 - Długość zabudowy 350-430.
Długość wrzeciona należy dobrać w zależności od długości zabudowy kompletu: opaski, zasuwy, kołnierza.
Wyposażenie opcjonalne
Dodatkowo oferujemy zestaw akcesoriów rozszerzających możliwości użytkowe aparatu:
- Przedłużone trzpienie do nawiercania przez zasuwę Fig. 002 i opaskę z kołnierzem
- Wiertła o większych średnicach Ø116, Ø122 i inne.
- Kołnierze z gwintem do nawiercania przez zasuwę kołnierzową.
Instrukcja nawiercania
- Zamontować zasuwę z opaską na rurze.
- Dobrać króciec redukcyjny i wiertło, stosownie do średnicy zasuwy z opaską i materiału rury wodociągowej. Dobrać długość wrzeciona w zależności od długości zabudowy, w taki sposób aby możliwe było zamknięcie zasuwy po dokonaniu nawiercenia. Dobór zweryfikować pomiarem.
- Aparat z cofniętym wrzecionem wkręcić w otwartą zasuwę.
- Kołem posuwu wysunąć wrzeciono z wiertłem z korpusu aparatu do ścianki rury, do wyczucia lekkiego oporu.
- Korpus aparatu zalać wodą poprzez zawór kulowy. Woda odgrywa rolę chłodzącą i smarującą.
- Rozpocząć nawiercanie poprzez nadanie korbą ruchu obrotowego wiertła, zgodnie z ruchem wskazówek zegara.
- Kołem posuwu nadawać odpowiedni do oporów skrawania posuw.
- Po nawierceniu odkręcić tuleję posuwu przeciwnie do ruchu wskazówek zegara, wycofać trzpień z wiertłem (nie wolno stosować lewych obrotów wrzeciona przy wycofywaniu).
- Zamknąć zasuwę.
- Zaworem kulowym spuścić wodę z aparatu i zdemontować aparat.
Kompletny zestaw do nawiercania wodociągów pod ciśnieniem - Zestaw Duży
Nawiercanie wodociągów pod ciśnieniem aparatem [NAP-200], przez zasuwę kołnierzową DN100 fig 111 [AZK-100-111] oraz dzieloną obejmę kołnierzową DZ110/100 [TR-PE-110-100]

Możliwości nawiercania rur wodociągowych PE / PCV aparatami ANWOD

