Oferta
Aparat do nawiercania wodociągów pod ciśnieniem - Zestaw Mały
SYMBOL PRODUKTU
NAP-100
Przeznaczenie
Służy do nawiercania wodociągów PE, PCV, ŻL, AC, stalowych, również pod ciśnieniem do 1.6 MPa. Standardowy zestaw pozwala na nawiercanie wodociągów pod ciśnieniem przez NWZ zasuwa z opaską na rury PE, PVC, ŻL, AC, stal: DN 32 - 1 ¼", DN 40 - 1 ½" i DN 50 2".
Specyfikacja
- Ciśnienie pracy PN 1.0 MPa, 1,6 MPa, Temperatura pracy tmax 40°C,
- Atest higieniczny do kontaktu z wodą pitną,
- Zabezpieczenie antykorozyjne - farba proszkowa z atestem higienicznym: poliestrowo-epoksydowa, RAL 5005,
- Elementy uszczelniające z atestem higienicznym: guma NBR 70 M066, guma EPDM.
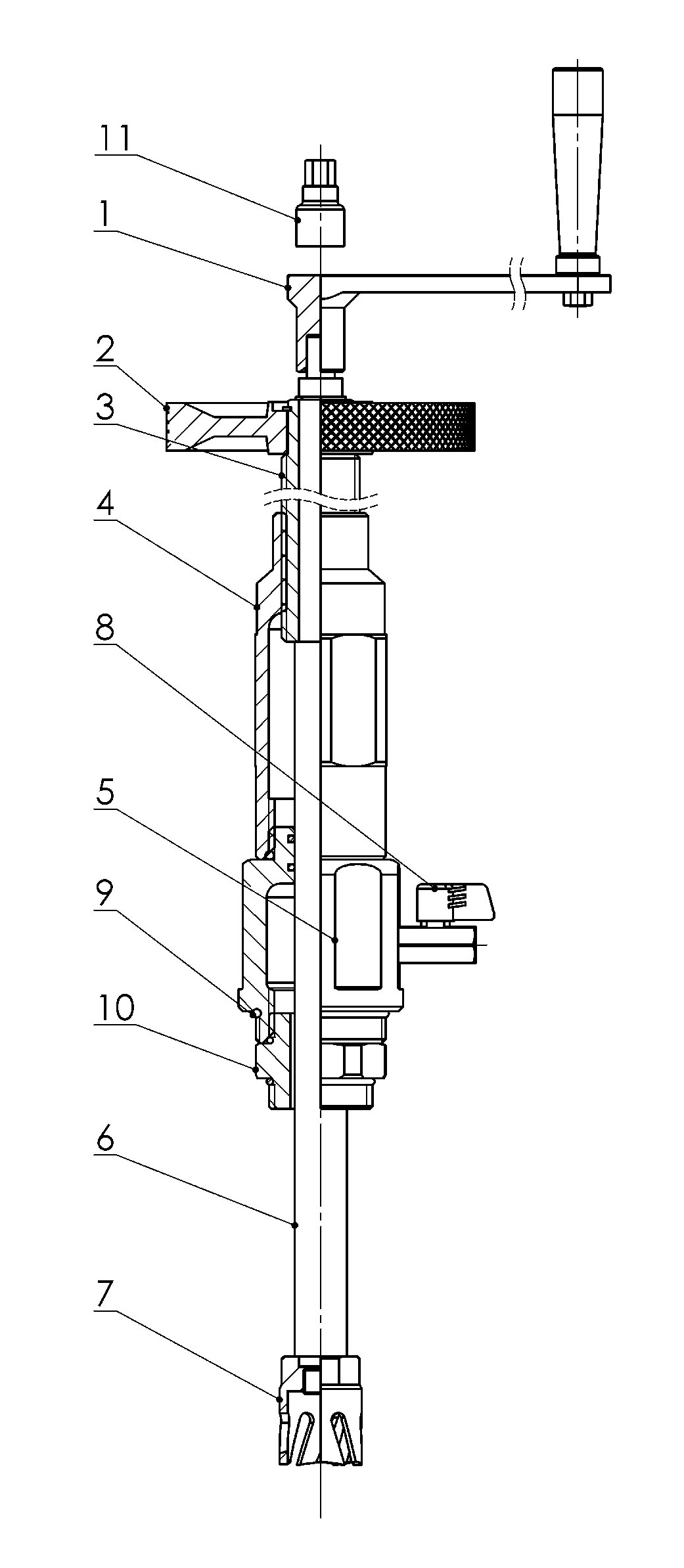
Elementy składowe aparatu

- korba do nadawania płynnego ruchu obrotowego wrzeciona
- koło posuwu EN-GJL 250, PN-EN 1561:2012
- tuleja posuwu MO 58, CW614N, PN-EN 12164:2016
- korpus cz. 1 GGG 50, EN-GJS-500, PN-EN 1563:2012
- korpus cz. 2 GGG 50, EN-GJS-500, PN-EN 1563:2012
- trzpień - wrzeciono 2 H13, X20Cr13, PN-EN 10088-1:2014
- narzędzia do nawiercania -
- wiertła bimetaliczne koronowe do rur twardych i frezy do rur miękkich
- zawór kulowy do napełniania aparatu i spuszczania wody po nawierceniu
- oringi - wszystkie połączenia gwintowe są uszczelnione oringami co zapewnia łatwy i precyzyjny montaż, guma NKJ
- króciec redukcyjny GGG: R 1 ½ " – R 1 ½” oraz R 1 ½” – R 1 ¼”
- adapter, nasadka ½” / 8 mm do napędu wkrętarką
Komplet jest zapakowany w metalowej skrzynce.
Wykaz

- korba S275, do nadawania płynnego ruchu obrotowego wrzeciona
- koło ZL250, EN-GJL-250, PN-EN 1561:2012
- nadaje posuw wiertła za pośrednictwem tulei posuwu
- tuleja posuwu MO 58, CW614N, PN-EN 12164:2016
- korpus cz. 1, EN-GJS-500, PN-EN 1563:2012
- korpus cz. 2, EN-GJS-500, PN-EN 1563:2012
Gwint zewn. R2”, Gwint wewn. R 1½". - trzpień - wrzeciono 2 H13, X20Cr13 PN-EN 10088-1:2014
- narzędzia nawiercające - wiertła bimetaliczne koronowe do rur twardych i frezy do rur miękkich
- zawór kulowy do napełniania aparatu i spuszczania wody po nawierceniu
- komplet oringów NBR 70, atest HK/W/0380/01/2016
- króciec redukcyjny GGG:
- R 1½ " – R 1½”;
- R 1½” – R 1¼”,
- adapter, nasadka ½"/ 8mm
Wiertła w zestawie
- wiertła bimetaliczne koronowe HSS w rozmiarach: Ø22; Ø27; Ø35; Ø41
- frezy do rur miękkich w rozmiarach: Ø22,5; Ø28; Ø35; Ø40
Dodatkowy zestaw akcesoriów rozszerzających możliwości użytkowe aparatu

Wyposażenie dodatkowe:
- kołnierze z gwintem do nawiercania przez zasuwę kołnierzową,
- przedłużanie trzpienie do nawiercania przez zasuwę Fig 002 i opaskę z kołnierzem,
- wiertła o większych średnicach: Ø 73, Ø 89, Ø 116, Ø 122 oraz inne,
Masywna konstrukcja, precyzyjne wykonanie, możliwość rozbudowy zestawu, przy doborze odpowiedniej konfiguracji, pozwala na nawiercanie wodociągów w każdym materiale.
Instrukcja nawiercania
- Zamontować zasuwę z opaską na rurze.
- Dobrać króciec redukcyjny i wiertło, stosownie do średnicy zasuwy z opaską i materiału rury wodociągowej. Dobrać długość wrzeciona w zależności od długości zabudowy, w taki sposób aby możliwe było zamknięcie zasuwy po dokonaniu nawiercenia. Dobór zweryfikować pomiarem.
- Aparat z cofniętym wrzecionem wkręcić w otwartą zasuwę.
- Kołem posuwu wysunąć wrzeciono z wiertłem z korpusu aparatu do ścianki rury, do wyczucia lekkiego oporu.
- Korpus aparatu zalać wodą poprzez zawór kulowy. Woda odgrywa rolę chłodzącą i smarującą.
- Rozpocząć nawiercanie poprzez nadanie korbą ruchu obrotowego wiertła, zgodnie z ruchem wskazówek zegara.
- Kołem posuwu nadawać odpowiedni do oporów skrawania posuw.
- Po nawierceniu odkręcić tuleję posuwu przeciwnie do ruchu wskazówek zegara, wycofać trzpień z wiertłem (nie wolno stosować lewych obrotów wrzeciona przy wycofywaniu).
- Zamknąć zasuwę.
- Zaworem kulowym spuścić wodę z aparatu i zdemontować aparat.
Kompletny zestaw do nawiercania - Zestaw Mały
Nawiercanie wodociągów pod ciśnieniem aparatem [NAP-100], przez zasuwę gwintowaną DN50 [AZ-50] oraz dzieloną opaskę DZ110 na rury PE/PCV [OPA-PE-GW50-110]

Możliwości nawiercania wodociągów aparatami ANWOD
