Oferta
Zasuwa z opaską na rury PCV, PE
SYMBOL PRODUKTU
NWZ-PE
Przeznaczenie
Zasuwy do przyłączy domowych z opaską służą do wykonywania wodociągowych przyłączy domowych na wodociągu z PCV i PE, również pod ciśnieniem przy użyciu przyrządu do nawiercania.
Specyfikacja
- Ciśnienie pracy 1,6 MPa, Temperatura pracy tmax 40°C
- Korpus zasuwy do przyłączy domowych: żeliwo szare ZL250, EN-GJL-250, PN-EN 1561:2012 / żeliwo sferoidalne GGG 50, EN-GJS-500, PN-EN 1563:2012
- Korpus opaski z żeliwa sferoidalnego GGG 50, EN-GJS-500, PN-EN 1563:2012
- Opcjonalnie uszczelka gumowa na całej powierzchni obejmy opaski
- Atest higieniczny B-BK-60210-0307/21
- Zabezpieczenie antykorozyjne - farba proszkowa: poliestrowo-epoksydowa HK/W/0399/01/2016, RAL 5005, grubość 250 μm ÷ 300 μm
- Guma NKJ, atest HK/W/1135/01/2014; Guma EPDM, atest HK/W/0713/01/2013
- Badania i wymagania zgodne z PN-EN 1074-1:2002
- Gwinty rurowe:
- PN-EN ISO 228-1:2005
- PN-EN ISO 228-2:2005
Tabela rozmiarów
| Symbol | Typ zasuwy | Oznaczenie DZ/dw | Średnica nom. wodociągu DN [mm] | Średnica nom. zasuwy DNz [mm] | Gwint zasuwy Gz [cale] | Długość zabudowy L [mm] | Wysokość zabudowy H [mm] |
| NWZ-PE-M32-090 |
Zasuwa DN 32 typ M GW/GZ |
90/1¼" | ø 80 | ø 32 | 1¼" | 150 | 185 |
| NWZ-PE-M32-110 | 110/1¼" | ø 100 | |||||
| NWZ-PE-M32-125 | 125/1¼" | - | 160 | ||||
| NWZ-PE-M32-160 | 160/1¼" | ø 150 | 170 | ||||
| NWZ-PE-M32-225 | 225/1¼" | ø 200 | |||||
| NWZ-PE-M40-063 |
Zasuwa DN 40 typ M |
63/1½" | ø 50 | ø 40 | 1½" | 145 | 195 |
| NWZ-PE-M40-075 | 75/1½" | - | |||||
| NWZ-PE-M40-090 | 90/1½" | ø 80 | 150 | ||||
| NWZ-PE-M40-110 | 110/1½" | ø 100 | |||||
| NWZ-PE-M40-125 | 125/1½" | - | 160 | ||||
| NWZ-PE-M40-160 | 160/1½" | ø 150 | 170 | ||||
| NWZ-PE-M40-225 | 225/1½" | ø 200 |
| Symbol | Typ zasuwy | Oznaczenie DZ/dw | Średnica nom. wodociągu DN [mm] | Średnica nom. zasuwy DNz [mm] | Gwint zasuwy Gz [cale] |
Długość zabudowy L [mm] |
Wysokość zabudowy H [mm] |
| NWZ-PE-32-090 |
Zasuwa DN 32 |
90/1¼" | ø 80 | ø 32 | R 1¼" | 160 | 210 |
| NWZ-PE-32-110 | 110/1¼" | ø 100 | |||||
| NWZ-PE-32-125 | 125/1¼" | - | |||||
| NWZ-PE-32-160 | 160/1¼" | ø 150 | |||||
| NWZ-PE-32-225 | 225/1¼" | ø 200 | |||||
| NWZ-PE-40-063 |
Zasuwa DN 40 |
63/1½" | ø 50 | ø 40 | R 1½" | 145 | 210 |
| NWZ-PE-40-075 | 75/1½" | ø 65 | |||||
| NWZ-PE-40-090 | 90/1½" | ø 80 | 150 | ||||
| NWZ-PE-40-110 | 110/1½" | ø 100 | |||||
| NWZ-PE-40-125 | 125/1½" | - | |||||
| NWZ-PE-40-160 | 160/1½" | ø 150 | 160 | ||||
| NWZ-PE-40-225 | 225/1½" | ø 200 | |||||
| NWZ-PE-50-063 |
Zasuwa DN 50 |
63/2" | ø 50 | ø 50 | R 2" | 165 | 215 |
| NWZ-PE-50-075 | 75/2" | ø 65 | |||||
| NWZ-PE-50-090 | 90/2" | ø 80 | 170 | ||||
| NWZ-PE-50-110 | 110/2" | ø 100 | |||||
| NWZ-PE-50-125 | 125/2" | - | |||||
| NWZ-PE-50-160 | 160/2" | ø 150 | |||||
| NWZ-PE-50-225 | 225/2" | ø 200 |
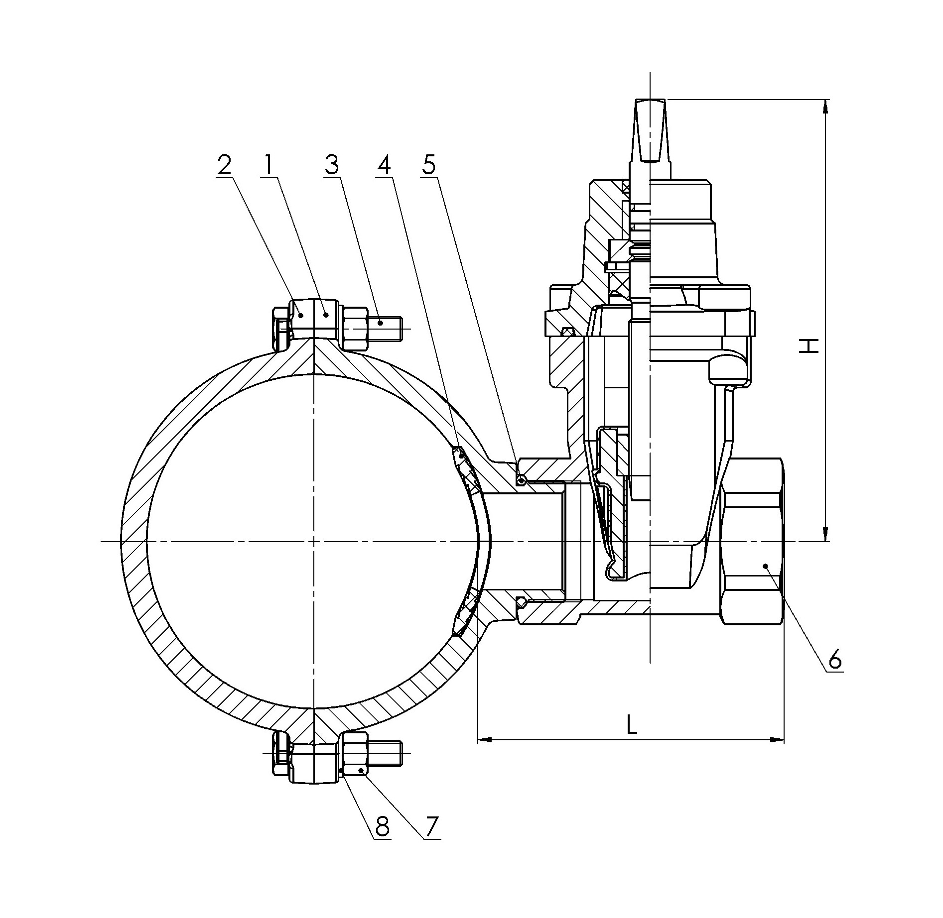
Wykaz

- Korpus GGG 50, EN-GJS 500, PN-EN 1563:2012
- Opaska GGG 50, EN-GJS 500, PN-EN 1563:2012Zasuwa z opaska
- Śruba M12 x50 PN-EN ISO 4016 (opcjonalnie śruba ze stali nierdzewnej A2)
- Uszczelka profilowana NKJ, atest HK/W/1135/01/2014
- Uszczelka typu "O" EPDM, atest HK/W/0713/01/2013
- Zasuwa PN-EN 1074-1:2002, materiał korpusu ZL250 EN-GJL 250 lub GGG 50, EN-GJS 500
- Nakrętka M12 PN-EN ISO 4032 (opcjonalnie nakrętka ze stali nierdzewnej A4)
- Podkładka Ø13 PN-EN ISO 887:03 (opcjonalnie podkładka ze stali nierdzewnej A2)