Oferta
Zasuwa kołnierzowa fig. 002 z gumowanym klinem SFERO
SYMBOL PRODUKTU
AZK
Przeznaczenie
Zasuwa kołnierzowa przeznaczona jest do instalacji wodociągowych nadziemnych i podziemnych wody pitnej. Służy do otwierania i zamykania przepływu.
Specyfikacja
- Ciśnienie pracy PN 1,6 MPa
- Temperatura pracy tmax 40oC
- Badania i wymagania zgodne z PN-EN 1074-1:2002
- Kołnierze zwymiarowane i owiercone zgodnie z normą PN-EN 1092-2:1999
- Atest higieniczny B-BK-60210-0307/21
- Zabezpieczenie antykorozyjne - farba proszkowa: poliestrowo-epoksydowa, atest HK/W/0399/01/2016, RAL 5005 grubość 250 μm ÷ 300 μm
- Guma NKJ, atest HK/W/1135/01/2014; Guma NBR 70, atest HK/W/0380/01/2016
Gwinty rurowe według:
- PN-EN ISO 228-1:2005
- PN-EN ISO 228-2:2005
Żeliwo sferoidalne na życzenie
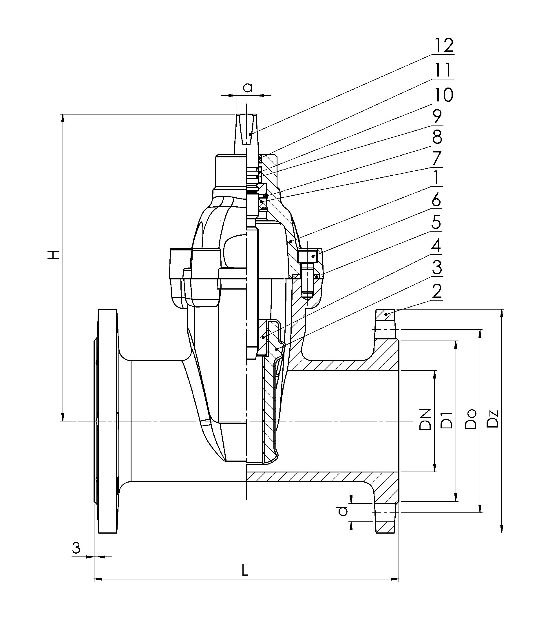
Tabela rozmiarów
| Symbol | Zasuwa |
DN |
L |
H |
a |
Do |
Dz |
d |
D1 |
Gk |
Ilość otw. |
| [mm] | szt. | ||||||||||
| AZK-050-002 | DN 50 | 50 | 250 | 208 | 19 | 125 | 165 | 18 | 102 | 22 | 4 |
| AZK-080-002-4 | DN 80 | 80 | 280 | 258 | 19 | 160 | 200 | 18 | 138 | 25 | 4 |
| AZK-080-002-8 | DN 80 | 80 | 280 | 258 | 19 | 160 | 200 | 18 | 138 | 25 | 8 |
| AZK-100-002 | DN 100 | 100 | 300 | 290 | 19 | 180 | 220 | 18 | 158 | 25 | 8 |
| AZK-150-002 | DN 150 | 150 | 350 | 405 | 22 | 240 | 285 | 22 | 212 | 26 | 8 |
Wykaz

- Pokrywa zasuwy SFERO, EN-GJS-500-7, PN-EN 1563:2012
- Korpus zasuwy SFERO EN-GJS-500-7, PN-EN 1563:2012
- Klin SFERO EN-GJS-500-7 pokryty gumą NKJ, atest HK/W/1135/01/2014
- Nakrętka MO58, CW614N PN-EN 12164:2016
- Uszczelka pokrywy, guma NKJ, HK/W/1135/01/2014
- Śruby mocujące pokrywę, PN-EN ISO 4762:2004
- Uszczelniacz, guma NKJ, HK/W/1135/01/2014
- Zabezpieczenie trzpienia MO58, CW614N PN-EN 12164:2016
- Pierścienie typu "O" guma NBR 70, HK/W/0380/01/2016
- Tulejka MO58, CW614N PN-EN 12164:2016
- Zgarniacz brudu, guma NKJ, atest HK/W/1135/01/2014
- Trzpień x20Cr13, 2H13, PN-EN 10088-1:2014
Nawiertki do rur stalowych ANWOD – połączenie precyzji i trwałości
Jeśli planujesz nabycie nawiertki wodociągowej, zapraszamy do rozpoczęcia poszukiwań od sprawdzenia oferty ANWOD. Produkujemy różnorodne elementy do budowy sieci wodociągowej. Oferujemy rozwiązania dla hurtowni, inwestorów, sklepów budowlanych, zakładów komunalnych, mieszkaniowych spółdzielni oraz wykonawców instalacji wodno-kanalizacyjnych.
Nawiertki przyłączeniowe – do budowy przyłącza bez przerwy w pracy sieci
Nawiertka przyłączeniowa od ANWOD umożliwia nawiercanie rur pod ciśnieniem z użyciem aparatu do nawiercania lub w wersji samonawiercającej, eliminującej konieczność użycia dodatkowego oprzyrządowania. W obu przypadkach montaż nie wymaga wstrzymywania przepływu wody. Umożliwia więc wykonanie przyłącza użytkowego bez zakłóceń w pracy sieci wodociągowej.
Solidność nawiertek do rur stalowych
W ANWOD ważna jest doskonała jakość produktów. Tworząc z największą starannością elementy armatury, ułatwiamy pracę naszym klientom, a także zwiększamy bezpieczeństwo korzystania z instalacji i zmniejszamy ryzyko poważnych awarii.
Poszczególne warianty nawiertek na rury PCV, PE oraz pozostałe poddajemy badaniu szczelności. Oceniamy zewnętrzną szczelność zamknięcia i korpusu, a także skuteczność uszczelnienia nawiertki przyłączeniowej na rurze. Proponowane przez ANWOD części armatury wodociągowej są docenianie i używane przez fachowców.
Specyfikacja nawiertek – na co zwrócić uwagę, wybierając produkt?
Każda nawiertka ANWOD, bez względu na to, czy jest przeznaczona do zastosowania na rurach PCV, PE czy żeliwnych, jest dokładnie opisana ze zwróceniem uwagi na jej szczegółowe parametry techniczne oraz właściwości konstrukcyjne. Specyfikacja obejmuje takie kwestie jak m.in. dopuszczalne ciśnienie, maksymalna temperatura pracy, zabezpieczenia antykorozyjne, elementy uszczelniające i typ materiału. Ponadto podajemy informacje dotyczące atestów higienicznych, zrealizowanych badań i spełnionych norm. Przedstawiamy również dokładne techniczne rysunki umożliwiające dostosowanie nawiertek do rur stalowych do swoich oczekiwań.
Wybierając nawiertki przyłączeniowe, zwróć więc uwagę na bogatą specyfikację ANWOD, by mieć pewność, że produkty zaspokoją Twoje potrzeby.
Nawiercanie pod ciśnieniem z użyciem aparatu nawiercającego lub bez oprzyrządowania
Nawiercanie rur żeliwnych oraz rur ze stali nierdzewnej odgrywa istotną rolę w instalacjach wodociągowych. Wykorzystujący aparaturę nawiercającą proces umożliwia przekształcenie rur, również tych z żeliwa sferoidalnego, w elementy całkowicie odpowiadające potrzebom instalacyjnym.
Istotne znaczenie mają dane techniczne i cechy konstrukcyjne rur. Decydują o ich wydajności, trwałości oraz możliwościach zastosowania. Proponowane w ANWOD elementy armatury, nie tylko nawiertki do rur stalowych, lecz także obejmy, włazy czy kształtki, wyróżnia doskonała jakość materiałów oraz precyzyjna konstrukcja, które czynią je skutecznymi częściami sieci.
Nawiercanie z użyciem aparatu nawiercającego lub bez dodatkowego oprzyrządowania pozwala na precyzyjne dostosowanie rur do wymagań konkretnego systemu wodociągowego. Gwarantuje optymalną przepustowość i efektywne funkcjonowanie instalacji.
Warto zwrócić uwagę na producentów armatury wodociągowej, którzy wytwarzają elementy w odpowiedzialny i zgodny z normami branżowymi sposób. Ich doświadczenie oraz zaawansowane technologie produkcji gwarantują solidność nawiertek i innych elementów przeznaczonych do instalacji wodociągowych.