Oferta
Zasuwa kołnierzowa fig. 111 z gumowanym klinem SFERO
SYMBOL PRODUKTU
AZK
Przeznaczenie
Zasuwa kołnierzowa przeznaczona jest do instalacji wodociągowych nadziemnych i podziemnych wody pitnej. Służy do otwierania i zamykania przepływu.
Specyfikacja
- Ciśnienie pracy PN 1,6 MPa
- Temperatura pracy tmax 40oC
- Atest higieniczny B-BK-60210-0307/21
- Zabezpieczenie antykorozyjne - farba proszkowa: poliestrowo-epoksydowa, atest HK/W/0399/01/2016,
- RAL 5005 grubość 250 μm ÷ 300 μm
- Guma NKJ, atest HK/W/1135/01/2014; Guma NBR 70, atest HK/W/0380/01/2016
- Badania i wymagania zgodne z PN-EN 1079-1:2002
- Kołnierze zwymiarowane i owiercone zgodnie z normą PN-EN 1092-2:1999
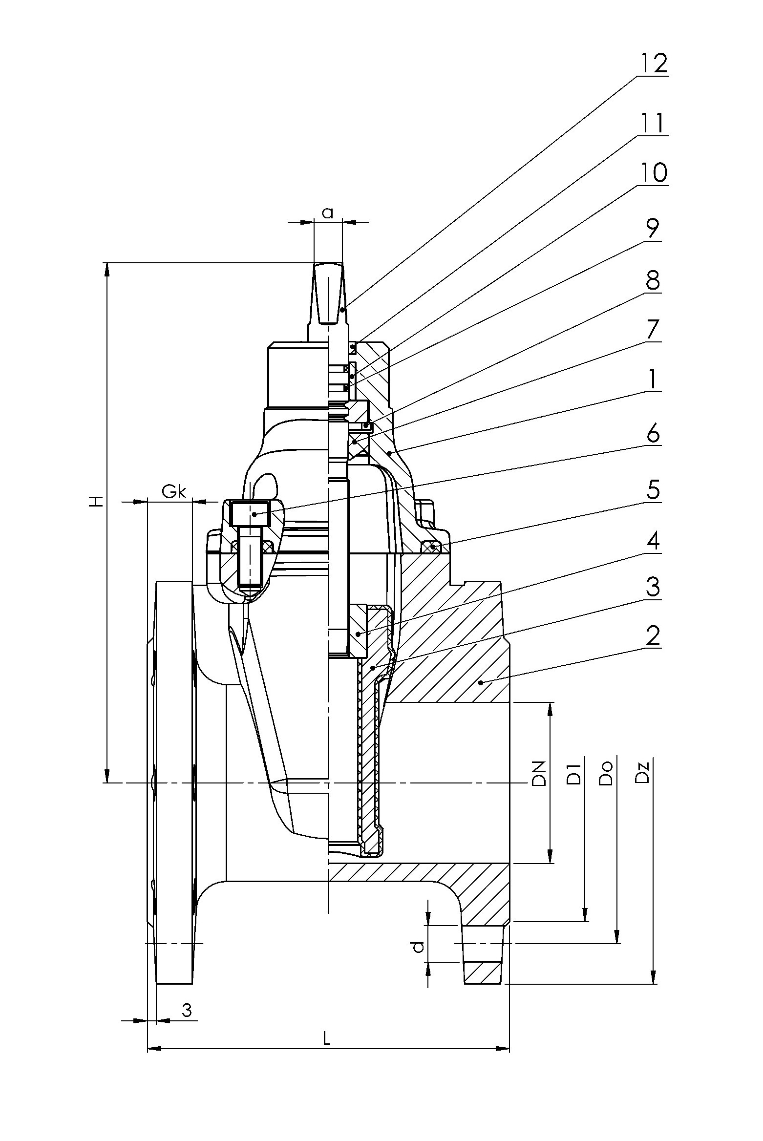
Tabela rozmiarów
| Symbol | Zasuwa | DN | L | H | a | Do | Dz | d | D1 | Gk | Ilość otw. |
| [mm] | szt. | ||||||||||
| AZK-080-111-4 | DN 80 | 80 | 180 | 258 | 19 | 160 | 200 | 18 | 138 | 20 | 4 |
| AZK-080-111-8 | DN 80 | 80 | 180 | 258 | 19 | 160 | 200 | 18 | 138 | 20 | 8 |
| AZK-100-111 | DN 100 | 100 | 190 | 290 | 19 | 180 | 220 | 18 | 158 | 16 | 8 |
| AZK-150-111 | DN 150 | 150 | 210 | 405 | 22 | 240 | 285 | 22 | 212 | 22 | 8 |
Wykaz

- Pokrywa zasuwy SFERO EN-GJS-500-7, PN-EN 1563:2012
- Korpus zasuwy SFERO EN-GJS-500-7, PN-EN 1563:2012
- Klin SFERO EN-GJS-500-7, pokryty gumą NKJ, HK/W/1135/01/2014
- Nakrętka MO58, CW614N PN-EN 12164:2016
- Uszczelka pokrywy, guma NKJ, HK/W/1135/01/2014
- Śruby mocujące pokrywę, PN-EN ISO 4762:2004
- Uszczelniacz, guma NKJ, HK/W/1135/01/2014
- Zabezpieczenie trzpienia MO58, CW614N PN-EN 12164:2016
- Pierścienie typu "O" guma NBR 70, HK/W/0380/01/2016
- Tulejka MO58, CW614N PN-EN 12164:2016
- Zgarniacz brudu, guma NKJ, HK/W/1135/01/2014
- Trzpień x20Cr13, 2H13, PN-EN 10088-1:2014
Pliki do pobrania
Zapytaj o wycenę produktu